Mikatec

>

DÉMARREUR ET SES COMPOSANTS

>

Bague démarreur

>

Bague compatible pour démarreur LUCAS 25061

Bague compatible pour démarreur LUCAS 25061

11,15mm x 15,85mm x 16,30mm
Référence : CAO140056-637037

Article en stock sous 7 à 10 jours

164TTC
Entreprise basée en Vendée - France

Entreprise
vendéenne

Moyens de paiement 100% sécurisés

Paiement
100% sécurisé

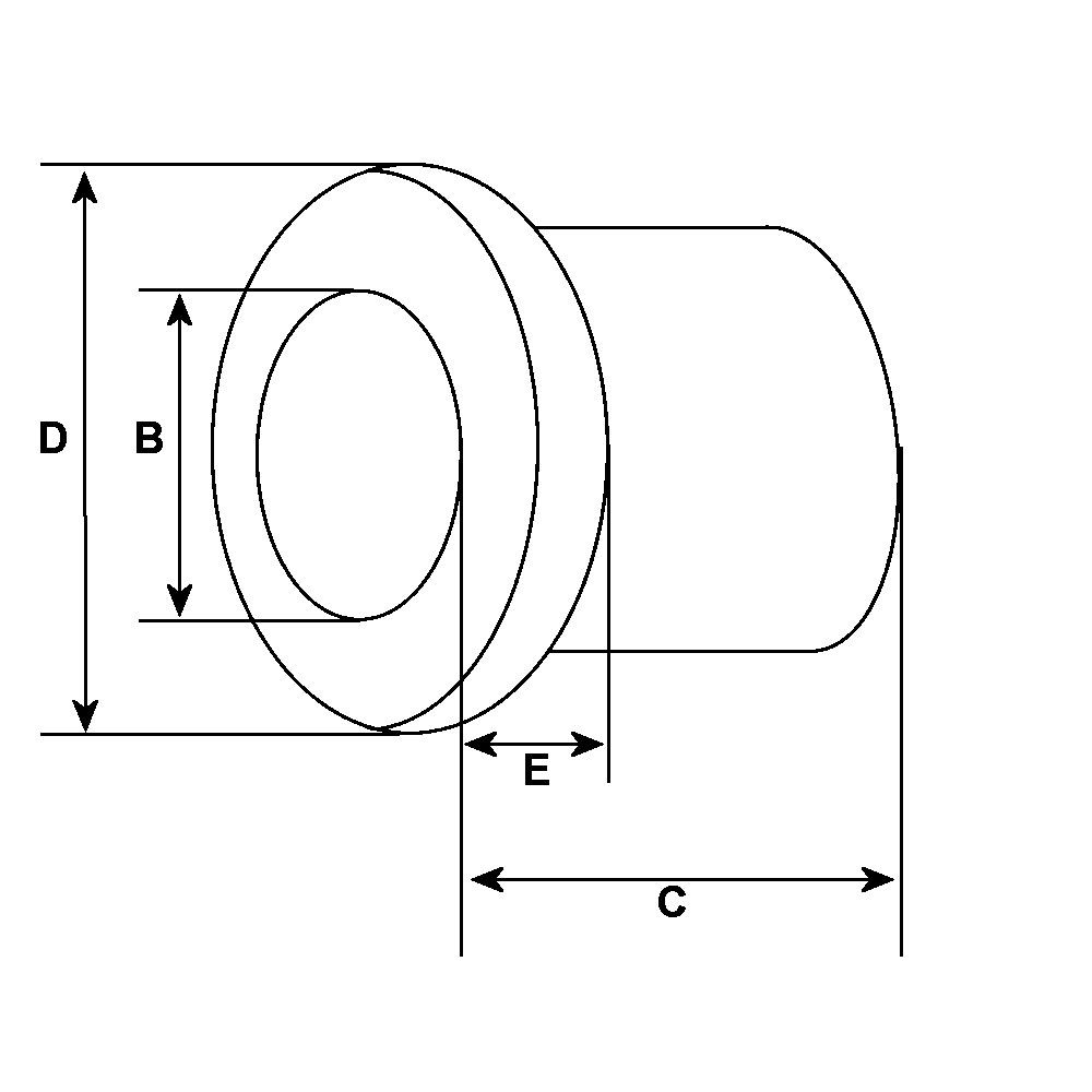
Infos techniques

A - Diamètre extérieur (mm)
15,85
B - Diamètre intérieur (mm)
11,15
C - Longueur totale (mm)
16,30
D- Diamètre extérieur collerette (mm)
26,20
E - Hauteur de collerette (mm)
2,40

 

 

À quoi servent les bagues en bronze ou en cuivre de mon démarreur LUCAS 25061 ?

Bagues en bronze ou en cuivre de première qualité.
Bagues en bronze ou en cuivre de première qualité.

 

Sur certains démarreurs, les bagues en bronze ou en cuivre peuvent jouer le même rôle que les roulements à billes, grâce à leur excellente résistance aux frottements et à l'usure. Elles permettent le guidage de l'axe du rotor dans le démarreur.

Conseil de pro.

Nous vous conseillons de démonter votre démarreur, puis de vérifier les cotes et les dimensions de la bague de bronze ou en cuivre que vous devez remplacer. Il faut savoir que l'on peut trouver jusqu'à 2 à 4 types de bagues différents sur un démarreur. 

Bagues pour démarreur de première qualité
Bagues pour démarreur de première qualité

 

Bagues en bronze ou en cuivre de première qualité.