Mikatec

>

DÉMARREUR ET SES COMPOSANTS

>

Charbon démarreur

>

Balais de charbon compatible pour démarreur ISKRA AZE2537

Balais de charbon compatible pour démarreur ISKRA AZE2537

Référence : CAO141030-1054582

Article en rupture de stock

2893TTC
Entreprise basée en Vendée - France

Entreprise
vendéenne

Moyens de paiement 100% sécurisés

Paiement
100% sécurisé

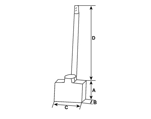
Infos techniques

Hauteur (mm)
13,00
Épaisseur (mm)
6,00
Largeur (mm)
18,00
D - Longueur de câble (mm)
31,00
Voltage
12
A - Longueur mm
13,00
B - Épaisseur mm
6,00
C - Hauteur mm
18,00
D - Longueur de câble mm
31,00
N° balais
4
 

Côtes et dimensions des balais de charbon pour ISKRA AZE2537

Schéma balai de charbon de démarreur
Schéma balai de charbon de démarreur
Marque
HC-CARGO