Mikatec

>

DÉMARREUR ET SES COMPOSANTS

>

Charbon démarreur

>

Balais de charbon compatible pour démarreur ACE R170

Balais de charbon compatible pour démarreur ACE R170

Référence : CAO140943-460886

Article en stock sous 7 à 10 jours

685TTC
Entreprise basée en Vendée - France

Entreprise
vendéenne

Moyens de paiement 100% sécurisés

Paiement
100% sécurisé

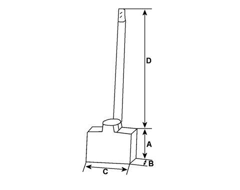
Infos techniques

Hauteur (mm)
16,00
Épaisseur (mm)
6,00
Largeur (mm)
19,00
D - Longueur de câble (mm)
28,00
Voltage
12
A - Longueur mm
16,00
B - Épaisseur mm
6,00
C - Hauteur mm
19,00
D - Longueur de câble mm
28,00
N° balais
4
 

Côtes et dimensions des balais de charbon pour ACE R170

Schéma balai de charbon de démarreur
Schéma balai de charbon de démarreur
Marque
HC-CARGO

Information Catalogues

Pour
PG260