Mikatec

>

DÉMARREUR ET SES COMPOSANTS

>

Charbon démarreur

>

Balais de charbon compatible pour démarreur BOSCH 141184

Balais de charbon compatible pour démarreur BOSCH 141184

Référence : CAO141184-922570

Article en fin de série

900TTC
Entreprise basée en Vendée - France

Entreprise
vendéenne

Moyens de paiement 100% sécurisés

Paiement
100% sécurisé

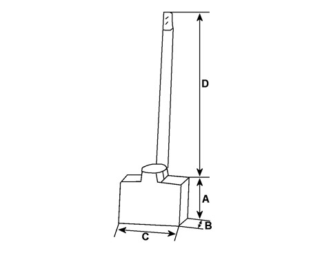
Infos techniques

Hauteur (mm)
13,00
Épaisseur (mm)
4,80
Largeur (mm)
16,00
D - Longueur de câble (mm)
23,00
D1 - Longueur de câble (mm)
45,50
 

Côtes et dimensions des balais de charbon pour BOSCH 141184

Schéma balai de charbon de démarreur
Schéma balai de charbon de démarreur
Nombre de balais
4
Voltage
12
Marque
HC CARGO (Bosch)