Mikatec

>

DÉMARREUR ET SES COMPOSANTS

>

Charbon démarreur

>

Balais de charbon compatible pour démarreur DENSO 4280005950

Balais de charbon compatible pour démarreur DENSO 4280005950

Référence : CAO142040-1101901

En stock

1544TTC
Entreprise basée en Vendée - France

Entreprise
vendéenne

Moyens de paiement 100% sécurisés

Paiement
100% sécurisé

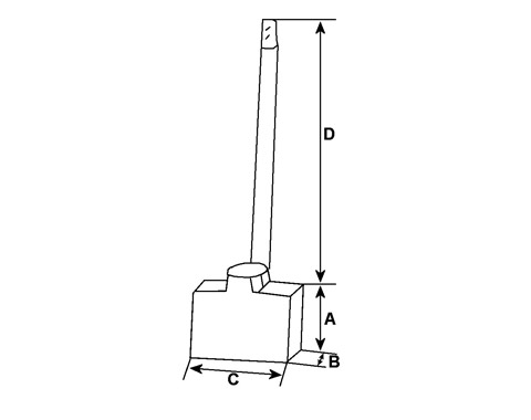
Infos techniques

Hauteur (mm)
15,50
Épaisseur (mm)
7,00
Largeur (mm)
20,00
D - Longueur de câble (mm)
25,00
D1 - Longueur de câble (mm)
33,00
Voltage
12
A - Longueur mm
15,50
B - Épaisseur mm
7,00
C - Hauteur mm
20,00
D - Longueur de câble mm
25,00
N° balais
4
 

Côtes et dimensions des balais de charbon pour DENSO 4280005950

Schéma balai de charbon de démarreur
Schéma balai de charbon de démarreur
Marque
HC-CARGO