Mikatec

>

DÉMARREUR ET SES COMPOSANTS

>

Charbon démarreur

>

Balais de charbon compatible pour démarreur HC-CARGO RX12003

Balais de charbon compatible pour démarreur HC-CARGO RX12003

Référence : CAO140814-935292

Article en stock sous 7 à 10 jours

402TTC
Entreprise basée en Vendée - France

Entreprise
vendéenne

Moyens de paiement 100% sécurisés

Paiement
100% sécurisé

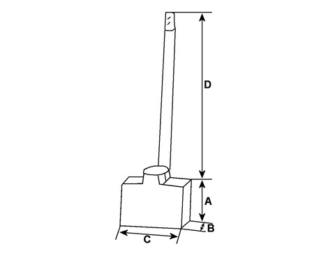
Infos techniques

Hauteur (mm)
14,00
Épaisseur (mm)
6,00
Largeur (mm)
16,00
D - Longueur de câble (mm)
83,00
D1 - Longueur de câble (mm)
37,00
 

Côtes et dimensions des balais de charbon pour HC-CARGO RX12003

Schéma balai de charbon de démarreur
Schéma balai de charbon de démarreur
Nombre de balais
3
Voltage
12
Marque
HC CARGO (Bosch)