Mikatec

>

DÉMARREUR ET SES COMPOSANTS

>

Charbon démarreur

>

Balais de charbon compatible pour démarreur HITACHI S114527

Balais de charbon compatible pour démarreur HITACHI S114527

Référence : CAO140786-741547

Article en stock sous 7 à 10 jours

1324TTC
Entreprise basée en Vendée - France

Entreprise
vendéenne

Moyens de paiement 100% sécurisés

Paiement
100% sécurisé

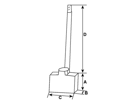
Infos techniques

Hauteur (mm)
16,00
Épaisseur (mm)
7,00
Largeur (mm)
11,00
D - Longueur de câble (mm)
28,00
D1 - Longueur de câble (mm)
143,00
Voltage
12
A - Longueur mm
16,00
B - Épaisseur mm
7,00
C - Hauteur mm
11,00
D - Longueur de câble mm
28,00
N° balais
4
 

Côtes et dimensions des balais de charbon pour HITACHI S114527

Schéma balai de charbon de démarreur
Schéma balai de charbon de démarreur
Marque
HC-CARGO