Mikatec

>

DÉMARREUR ET SES COMPOSANTS

>

Charbon démarreur

>

Balais de charbon compatible pour démarreur HITACHI S1219C

Balais de charbon compatible pour démarreur HITACHI S1219C

Référence : CAO140339-530579

En stock

646TTC
Entreprise basée en Vendée - France

Entreprise
vendéenne

Moyens de paiement 100% sécurisés

Paiement
100% sécurisé

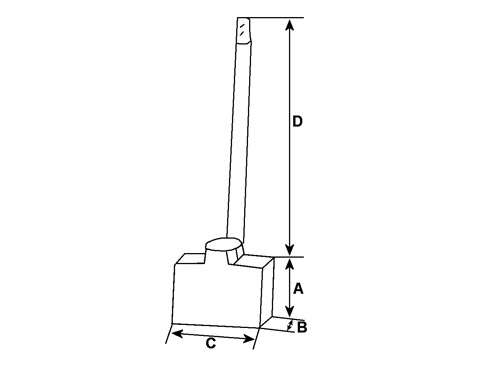
Infos techniques

Hauteur (mm)
22,00
Épaisseur (mm)
8,00
Largeur (mm)
15,00
D - Longueur de câble (mm)
43,50
Voltage
12
A - Longueur mm
22,00
B - Épaisseur mm
8,00
C - Hauteur mm
15,00
D - Longueur de câble mm
43,50
N° balais
4
 

Côtes et dimensions des balais de charbon pour HITACHI S1219C

Schéma balai de charbon de démarreur
Schéma balai de charbon de démarreur
Marque
HC-CARGO