Mikatec

>

DÉMARREUR ET SES COMPOSANTS

>

Charbon démarreur

>

Balais de charbon compatible pour démarreur LUCAS 26618E

Balais de charbon compatible pour démarreur LUCAS 26618E

Référence : CAO140898-576129

Article en stock sous 7 à 10 jours

907TTC
Entreprise basée en Vendée - France

Entreprise
vendéenne

Moyens de paiement 100% sécurisés

Paiement
100% sécurisé

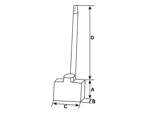
Infos techniques

Hauteur (mm)
12,00
Épaisseur (mm)
7,00
Largeur (mm)
13,70
D - Longueur de câble (mm)
49,00
D1 - Longueur de câble (mm)
72,50
Voltage
12
A - Longueur mm
12,00
B - Épaisseur mm
7,00
C - Hauteur mm
13,70
D - Longueur de câble mm
49,00
N° balais
4
 

Côtes et dimensions des balais de charbon pour LUCAS 26618E

Schéma balai de charbon de démarreur
Schéma balai de charbon de démarreur
Marque
HC-CARGO

Information Catalogues

Pour
M79
Remarques
Avec barre omnibus: HC-CARGO 140481.