Mikatec

>

DÉMARREUR ET SES COMPOSANTS

>

Charbon démarreur

>

Balais de charbon compatible pour démarreur LUCAS 26656

Balais de charbon compatible pour démarreur LUCAS 26656

Référence : CAO140481-537847

Article en stock sous 7 à 10 jours

529TTC
Entreprise basée en Vendée - France

Entreprise
vendéenne

Moyens de paiement 100% sécurisés

Paiement
100% sécurisé

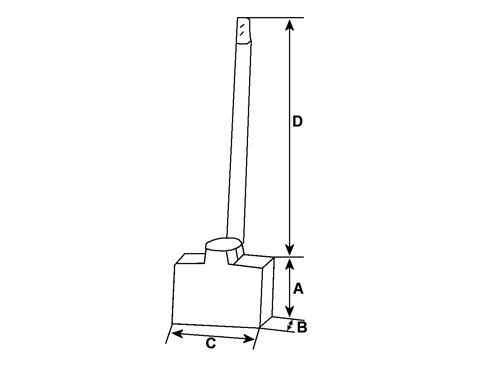
Infos techniques

Hauteur (mm)
12,00
Épaisseur (mm)
7,00
Largeur (mm)
13,70
D - Longueur de câble (mm)
75,00
Voltage
12
A - Longueur mm
12,00
B - Épaisseur mm
7,00
C - Hauteur mm
13,70
D - Longueur de câble mm
75,00
N° balais
4
 

Côtes et dimensions des balais de charbon pour LUCAS 26656

Schéma balai de charbon de démarreur
Schéma balai de charbon de démarreur
Marque
HC-CARGO

Information Catalogues

Pour
M79
Remarques
Avec barre omnibus: HC-CARGO 140898, 140896.