Mikatec

>

DÉMARREUR ET SES COMPOSANTS

>

Charbon démarreur

>

Balais de charbon compatible pour démarreur LUCAS 26660B

Balais de charbon compatible pour démarreur LUCAS 26660B

Référence : CAO140897-576203

Article en fin de série

1080TTC
Entreprise basée en Vendée - France

Entreprise
vendéenne

Moyens de paiement 100% sécurisés

Paiement
100% sécurisé

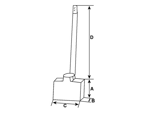
Infos techniques

Hauteur (mm)
12,00
Épaisseur (mm)
7,00
Largeur (mm)
13,00
D - Longueur de câble (mm)
97,50
D1 - Longueur de câble (mm)
64,50
 

Côtes et dimensions des balais de charbon pour LUCAS 26660B

Schéma balai de charbon de démarreur
Schéma balai de charbon de démarreur
Nombre de balais
4
Voltage
12
Marque
HC CARGO (Bosch)