Mikatec

>

DÉMARREUR ET SES COMPOSANTS

>

Charbon démarreur

>

Balais de charbon compatible pour démarreur MAGNETI MARELLI 63103007

Balais de charbon compatible pour démarreur MAGNETI MARELLI 63103007

Référence : CAOJSX4046474-847671

Article en rupture de stock

479TTC
Entreprise basée en Vendée - France

Entreprise
vendéenne

Moyens de paiement 100% sécurisés

Paiement
100% sécurisé

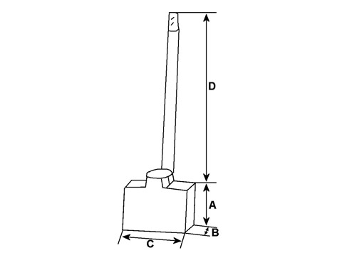
Infos techniques

Hauteur (mm)
17,50
Épaisseur (mm)
7,00
Largeur (mm)
13,00
D - Longueur de câble (mm)
66,00
D1 - Longueur de câble (mm)
28,00
 

Côtes et dimensions des balais de charbon pour MAGNETI MARELLI 63103007

Schéma balai de charbon de démarreur
Schéma balai de charbon de démarreur
Nombre de balais
4
Voltage
12
Marque
HC CARGO (Bosch)