>
>
>
Balais de charbon compatible pour démarreur MAGNETI MARELLI MT68AB
En stock

Entreprisevendéenne

Paiement100% sécurisé
Infos techniques
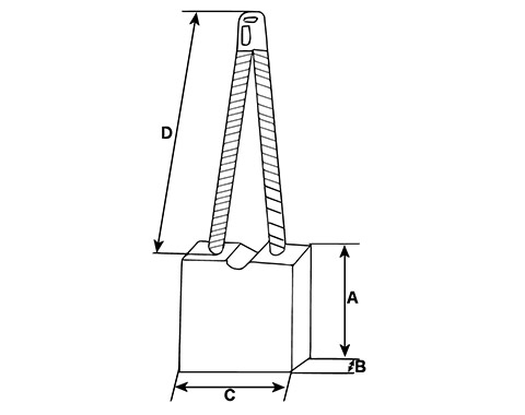
Côtes et dimensions des balais de charbon pour MAGNETI MARELLI MT68AB
Les clients ont également acheté ...
Avis clients
sur 3 avis