Mikatec

>

DÉMARREUR ET SES COMPOSANTS

>

Charbon démarreur

>

Balais de charbon compatible pour démarreur MITSUBA SM44225

Balais de charbon compatible pour démarreur MITSUBA SM44225

Référence : CAO141246-1046332

Article en stock sous 7 à 10 jours

2848TTC
Entreprise basée en Vendée - France

Entreprise
vendéenne

Moyens de paiement 100% sécurisés

Paiement
100% sécurisé

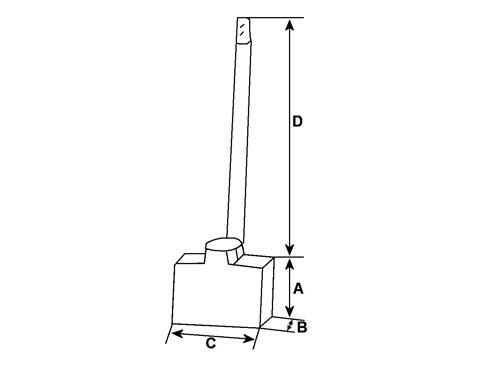
Infos techniques

Hauteur (mm)
16,00
Épaisseur (mm)
5,00
Largeur (mm)
17,00
D - Longueur de câble (mm)
30,00
D1 - Longueur de câble (mm)
35,00
Voltage
12
A - Longueur mm
16,00
B - Épaisseur mm
5,00
C - Hauteur mm
17,00
D - Longueur de câble mm
30,00
N° balais
4
 

Côtes et dimensions des balais de charbon pour MITSUBA SM44225

Schéma balai de charbon de démarreur
Schéma balai de charbon de démarreur
Marque
HC-CARGO