Mikatec

>

DÉMARREUR ET SES COMPOSANTS

>

Charbon démarreur

>

Balais de charbon compatible pour démarreur MITSUBISHI 140709

Balais de charbon compatible pour démarreur MITSUBISHI 140709

Référence : CAO140709-460672

Article en stock sous 7 à 10 jours

479TTC
Entreprise basée en Vendée - France

Entreprise
vendéenne

Moyens de paiement 100% sécurisés

Paiement
100% sécurisé

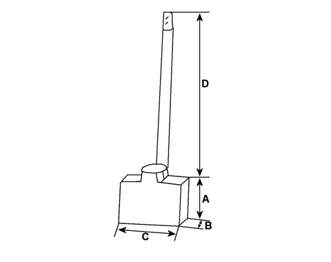
Infos techniques

Hauteur (mm)
14,00
Épaisseur (mm)
7,00
Largeur (mm)
12,00
D - Longueur de câble (mm)
29,30
Voltage
12
A - Longueur mm
14,00
B - Épaisseur mm
7,00
C - Hauteur mm
12,00
D - Longueur de câble mm
29,30
N° balais
4
 

Côtes et dimensions des balais de charbon pour MITSUBISHI 140709

Schéma balai de charbon de démarreur
Schéma balai de charbon de démarreur
Marque
HC-CARGO