>
>
>
Balais de charbon compatible pour démarreur REMY (DELCO) 1107185
En stock

Entreprisevendéenne

Paiement100% sécurisé
Infos techniques
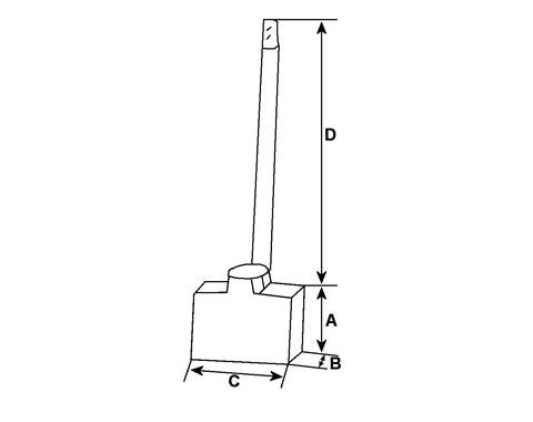
Côtes et dimensions des balais de charbon pour REMY (DELCO) 1107185
Information Catalogues
Les clients ont également acheté ...
Avis clients
sur 4 avis