Mikatec

>

DÉMARREUR ET SES COMPOSANTS

>

Charbon démarreur

>

Balais de charbon compatible pour démarreur REMY (DELCO) 3471172

Balais de charbon compatible pour démarreur REMY (DELCO) 3471172

Référence : CAO140813-1130802

Article en stock sous 7 à 10 jours

342TTC
Entreprise basée en Vendée - France

Entreprise
vendéenne

Moyens de paiement 100% sécurisés

Paiement
100% sécurisé

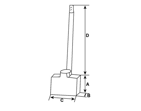
Infos techniques

Hauteur (mm)
14,00
Épaisseur (mm)
6,00
Largeur (mm)
16,00
D - Longueur de câble (mm)
43,00
D1 - Longueur de câble (mm)
36,50
Voltage
12
A - Longueur mm
14,00
B - Épaisseur mm
6,00
C - Hauteur mm
16,00
D - Longueur de câble mm
43,00
N° balais
2
 

Côtes et dimensions des balais de charbon pour REMY (DELCO) 3471172

Schéma balai de charbon de démarreur
Schéma balai de charbon de démarreur
Marque
HC-CARGO