Mikatec

>

DÉMARREUR ET SES COMPOSANTS

>

Charbon démarreur

>

Balais de charbon compatible pour démarreur VALEO D13HP601

Balais de charbon compatible pour démarreur VALEO D13HP601

Référence : CAO141067-576357

Article en stock sous 7 à 10 jours

2887TTC
Entreprise basée en Vendée - France

Entreprise
vendéenne

Moyens de paiement 100% sécurisés

Paiement
100% sécurisé

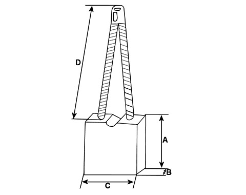
Infos techniques

Hauteur (mm)
20,00
Épaisseur (mm)
10,00
Largeur (mm)
25,00
D - Longueur de câble (mm)
69,50
D1 - Longueur de câble (mm)
46,00
Voltage
24
A - Longueur mm
20,00
B - Épaisseur mm
10,00
C - Hauteur mm
25,00
D - Longueur de câble mm
69,50
N° balais
4
 

Côtes et dimensions des balais de charbon pour VALEO D13HP601

Schéma balai de charbon de démarreur
Schéma balai de charbon de démarreur
Marque
HC-CARGO