>
>
>
Balais de charbon compatible pour démarreur VALEO D7R48
En stock

Entreprisevendéenne

Paiement100% sécurisé
Infos techniques
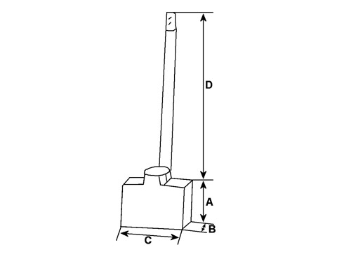
Côtes et dimensions des balais de charbon pour VALEO D7R48
Information Catalogues
Les clients ont également acheté ...
Avis clients
