Mikatec

>

DÉMARREUR ET SES COMPOSANTS

>

Charbon démarreur

>

Balais de charbon compatible pour démarreur VALEO ESW20E11

Balais de charbon compatible pour démarreur VALEO ESW20E11

Référence : CAO334084-1085857

Article en stock sous 7 à 10 jours

805TTC
Entreprise basée en Vendée - France

Entreprise
vendéenne

Moyens de paiement 100% sécurisés

Paiement
100% sécurisé

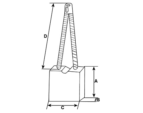
Infos techniques

Hauteur (mm)
12,45
Épaisseur (mm)
6,95
Largeur (mm)
11,00
D - Longueur de câble (mm)
33,50
D1 - Longueur de câble (mm)
88,15
Voltage
12
A - Longueur mm
12,50
B - Épaisseur mm
7,00
C - Hauteur mm
11,00
D - Longueur de câble mm
33,50
N° balais
8
 

Côtes et dimensions des balais de charbon pour VALEO ESW20E11

Schéma balai de charbon de démarreur
Schéma balai de charbon de démarreur
Marque
HC-CARGO

Les clients ont également acheté ...