Mikatec

>

DÉMARREUR ET SES COMPOSANTS

>

Charbon démarreur

>

Balais de charbon compatible pour démarreur VALEO PSX1421454

Balais de charbon compatible pour démarreur VALEO PSX1421454

Référence : CAO142351-937484

Article en rupture de stock

650TTC
Entreprise basée en Vendée - France

Entreprise
vendéenne

Moyens de paiement 100% sécurisés

Paiement
100% sécurisé

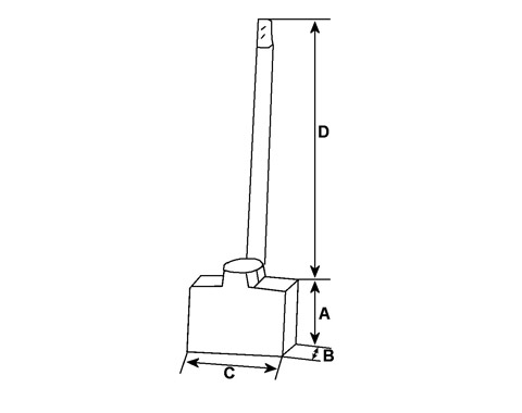
Infos techniques

Hauteur (mm)
14,00
Épaisseur (mm)
7,00
Largeur (mm)
14,00
D - Longueur de câble (mm)
55,00
D1 - Longueur de câble (mm)
37,00
A - Longueur mm
14,00
B - Épaisseur mm
7,00
C - Hauteur mm
14,00
D - Longueur de câble mm
55,00
N° balais
4
 

Côtes et dimensions des balais de charbon pour VALEO PSX1421454

Schéma balai de charbon de démarreur
Schéma balai de charbon de démarreur
Marque
HC-CARGO