Mikatec

>

DÉMARREUR ET SES COMPOSANTS

>

Charbon démarreur

>

Balais de charbon compatible pour démarreur VOLVO 21632125

Balais de charbon compatible pour démarreur VOLVO 21632125

Référence : CAO142006-726182

Article en stock sous 7 à 10 jours

751TTC
Entreprise basée en Vendée - France

Entreprise
vendéenne

Moyens de paiement 100% sécurisés

Paiement
100% sécurisé

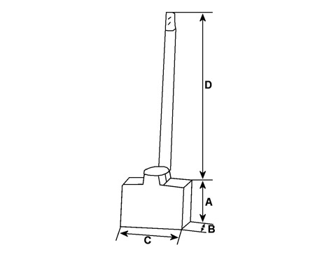
Infos techniques

Hauteur (mm)
18,00
Épaisseur (mm)
8,00
Largeur (mm)
29,70
D - Longueur de câble (mm)
41,50
Voltage
24
A - Longueur mm
18,00
B - Épaisseur mm
8,00
C - Hauteur mm
29,70
D - Longueur de câble mm
41,50
N° balais
4
 

Côtes et dimensions des balais de charbon pour VOLVO 21632125

Schéma balai de charbon de démarreur
Schéma balai de charbon de démarreur
Marque
HC-CARGO