Mikatec

>

DÉMARREUR ET SES COMPOSANTS

>

Charbon démarreur

>

Balais de charbon compatible pour démarreur WAI 6883093

Balais de charbon compatible pour démarreur WAI 6883093

Référence : CAO140378-460256

Article en stock sous 7 à 10 jours

1237TTC
Entreprise basée en Vendée - France

Entreprise
vendéenne

Moyens de paiement 100% sécurisés

Paiement
100% sécurisé

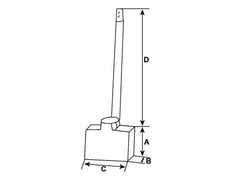
Infos techniques

Hauteur (mm)
18,00
Épaisseur (mm)
8,00
Largeur (mm)
25,00
D - Longueur de câble (mm)
44,50
Voltage
12/24
A - Longueur mm
18,00
B - Épaisseur mm
8,00
C - Hauteur mm
25,00
D - Longueur de câble mm
44,50
N° balais
4
 

Côtes et dimensions des balais de charbon pour WAI 6883093

Schéma balai de charbon de démarreur
Schéma balai de charbon de démarreur
Marque
HC-CARGO