Mikatec

>

DÉMARREUR ET SES COMPOSANTS

>

Couronne balai démarreur

>

Couronne porte balai

>

Couronne porte balais compatible pour démarreur REMY (DELCO) 1113285

Couronne porte balais compatible pour démarreur REMY (DELCO) 1113285

Référence : CAO134842-1109249

Article en stock sous 7 à 10 jours

710TTC
Entreprise basée en Vendée - France

Entreprise
vendéenne

Moyens de paiement 100% sécurisés

Paiement
100% sécurisé

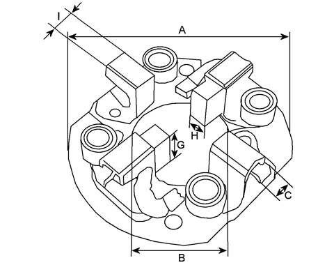
Infos techniques

A - Diamètre extérieur (mm)
77,30
B - Diamètre intérieur (mm)
41,70
C - Hauteur (mm)
29,45
A - DE mm
77,50
B - DI mm
41,50
C - Hauteur mm
29,50
 

Côtes et dimensions de la couronne porte-balais pour REMY (DELCO) 1113285

 

Côtes et dimensions de la couronne porte balais
Côtes et dimensions de la couronne porte balais
Marque
HC-CARGO

Information Catalogues

Pour
28MT
Remarques
Jeu de balais: HC-CARGO 140600, 140732. Ressort balais: HC-CARGO 134843.