Mikatec

>

DÉMARREUR ET SES COMPOSANTS

>

Induit démarreur

>

Induit compatible pour démarreur RENAULT 7700113627

Induit compatible pour démarreur RENAULT 7700113627

Référence : CAO230250-713869

Article en stock sous 7 à 10 jours

4511TTC
Entreprise basée en Vendée - France

Entreprise
vendéenne

Moyens de paiement 100% sécurisés

Paiement
100% sécurisé

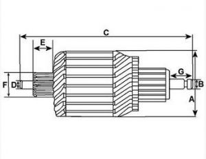
Infos techniques

Voltage
12
B - Dia. Arbre/côté collecteur
6,00
N° lamelle
23
Kw
1,1
Marque
HC-CARGO

Information Physique

A - Diam. Fil
44.00
D - L'arbre d'entraînement DE
6.00
C - Longueur d'arbre
112.00
N° de dents
7
G - Distance/commutateur
17.40
Induit de démarreur
Induit de démarreur
Induit de démarreur

 

Pourquoi dois-je remplacer l’induit de mon démarreur ?

L’induit de votre démarreur et, en particulier, son collecteur s’usent avec le temps, à cause du frottement des balais de charbon sur les lamelles du collecteur.
Celles-ci se creusent : les charbons peuvent alors sortir de leur porte-balais. 
Dans ce cas, il arrive qu'une des lamelles de l’induit soit arrachée à cause de la vitesse de rotation.

L’induit de mon démarreur est grillé ?

 

Conseil de pro
Conseil de pro

Conseil de pro :

Si le bobinage de votre démarreur est grillé, alors cela signifie que votre démarreur était encore engagé sur le volant moteur, tandis que le moteur de votre véhicule était lancé.


Vous devez absolument identifier la cause de la panne pour que ce scénario ne se reproduise pas !
Généralement, la panne est due à un défaut du lanceur, du solénoïde ou du neiman.

Lanceur de démarreur
Lanceur de démarreur
Lanceur de démarreur
Solénoide de démarreur
Solénoide de démarreur
Solénoide de démarreur
Neiman
Neiman
Neiman

Avis clients

Chez Mikatec les avis sont fiables et font suite à un achat. En savoir plus.

J

Jean-Louis V.

 
avis laissé ledu 26/01/2024
usinage des axes du rotor moyens, pas suffisamment lisses. Axe coté induit sans épaulement pour recevoir la rondelle ,qui doit être montée avec un léger serrage sur l'axe et qui a pour rôle de régler le jeux en latéral.

Avis soumis à un contrôle

Pour vous garantir leur fiabilité, nos avis sont exclusivement sollicités auprès de clients ayant achetés des produits sur notre boutique. Aucune contrepartie n'a été fournie en échange des avis. Les avis sont publiés et conservés sans limitation de temps. Si un client souhaite modifier son avis, il peut prendre contact avec la Société des Avis Garantis, notre tiers de confiance. Pour plus d'informations, notamment sur les caractéristiques du contrôle des avis et les motifs de suppression des avis, merci de consulter le site de laSociété des Avis Garantis.