Mikatec

>

DÉMARREUR ET SES COMPOSANTS

>

Lanceur démarreur

>

Lanceur Bosch pour démarreur BOSCH 0001121028

Lanceur Bosch pour démarreur BOSCH 0001121028

Référence : CAO333200-789737

Article en stock sous 7 à 10 jours

2840TTC
Entreprise basée en Vendée - France

Entreprise
vendéenne

Moyens de paiement 100% sécurisés

Paiement
100% sécurisé

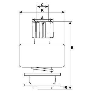
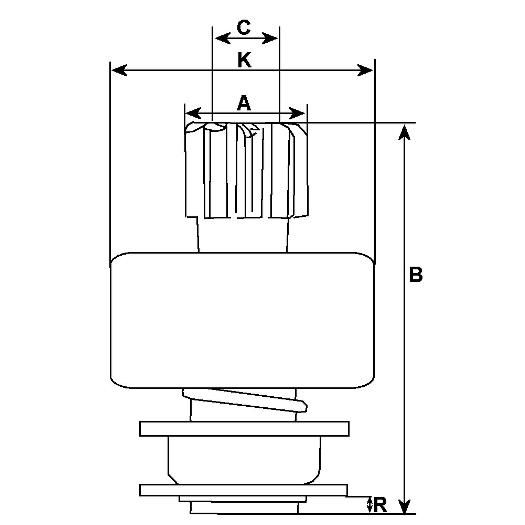
Infos techniques

C - DI mm
11,00
N° de dents
9
Cannelures internes
16
K - DE/logement mm
46,20
Rotation
Sens anti-horaire
Marque
5*
A - DE mm
25.80
B - Longueur totale mm
82.20
Type lanceur
Acier
Source
Bosch

Information Catalogues

Remarques
Kit capot anti-poussière: HC-CARGO 230338.
Lanceur grippé
Lanceur grippé

 

Comment tester un lanceur de démarreur BOSCH 0001121028 ?

C'est très simple : si le démarreur tourne, mais qu'il ne parvient pas à attaquer le volant moteur, alors il y a de très fortes chances que le lanceur soit la cause du problème.

Pour vérifier le bon fonctionnement de votre lanceur, il vous suffit de vérifier que le pignon bouge librement et que le lanceur n'est pas bloqué. Profitez-en pour vérifier l'état des ressorts et des dents du pignon. Si votre lanceur est grippé, rouillé ou usé, vous devrez le remplacer.