Mikatec

>

DÉMARREUR ET SES COMPOSANTS

>

Lanceur démarreur

>

Lanceur Bosch pour démarreur BOSCH 1006209602

Lanceur Bosch pour démarreur BOSCH 1006209602

Référence : CAO1986SE1621-925940

Article en rupture de stock

13195TTC
Entreprise basée en Vendée - France

Entreprise
vendéenne

Moyens de paiement 100% sécurisés

Paiement
100% sécurisé

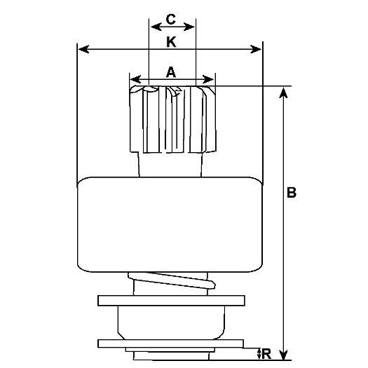
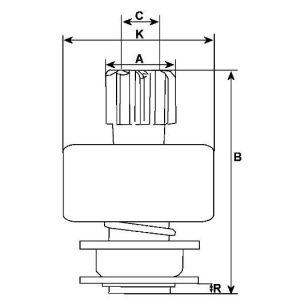
Infos techniques

C - DI mm
12,00
N° de dents
9
Cannelures internes
10
K - DE/logement mm
47,70
Rotation
Sens anti-horaire
Marque
BOSCH
A - DE mm
29.60
B - Longueur totale mm
53.50
Lanceur grippé
Lanceur grippé

 

Comment tester un lanceur de démarreur BOSCH 1006209602 ?

C'est très simple : si le démarreur tourne, mais qu'il ne parvient pas à attaquer le volant moteur, alors il y a de très fortes chances que le lanceur soit la cause du problème.

Pour vérifier le bon fonctionnement de votre lanceur, il vous suffit de vérifier que le pignon bouge librement et que le lanceur n'est pas bloqué. Profitez-en pour vérifier l'état des ressorts et des dents du pignon. Si votre lanceur est grippé, rouillé ou usé, vous devrez le remplacer.