Mikatec

>

DÉMARREUR ET SES COMPOSANTS

>

Lanceur démarreur

>

Lanceur Bosch pour démarreur BOSCH 1006210217

Lanceur Bosch pour démarreur BOSCH 1006210217

Référence : CAO331504-925918

Article en stock sous 7 à 10 jours

3514TTC
Entreprise basée en Vendée - France

Entreprise
vendéenne

Moyens de paiement 100% sécurisés

Paiement
100% sécurisé

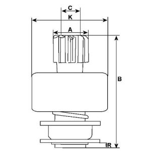
Infos techniques

C - DI mm
13,50
N° de dents
11
Cannelures internes
16
K - DE/logement mm
50,50
Rotation
Sens anti-horaire
Marque
5*
Diam. Arbre/avant
28.20
A - DE mm
27.30
B - Longueur totale mm
92.40
Type lanceur
Acier
Verouillage
Avec
Source
Bosch
Lanceur grippé
Lanceur grippé

 

Comment tester un lanceur de démarreur BOSCH 1006210217 ?

C'est très simple : si le démarreur tourne, mais qu'il ne parvient pas à attaquer le volant moteur, alors il y a de très fortes chances que le lanceur soit la cause du problème.

Pour vérifier le bon fonctionnement de votre lanceur, il vous suffit de vérifier que le pignon bouge librement et que le lanceur n'est pas bloqué. Profitez-en pour vérifier l'état des ressorts et des dents du pignon. Si votre lanceur est grippé, rouillé ou usé, vous devrez le remplacer.