Mikatec

>

DÉMARREUR ET SES COMPOSANTS

>

Lanceur démarreur

>

Lanceur Bosch pour démarreur BOSCH 0001115074

Lanceur Bosch pour démarreur BOSCH 0001115074

Référence : CAO1986SE1641-789593

Article en fin de série

3109TTC
Entreprise basée en Vendée - France

Entreprise
vendéenne

Moyens de paiement 100% sécurisés

Paiement
100% sécurisé

Infos techniques

Marque
Bosch
Nombre de dents
12
Cannelures
10
Rotation
CW

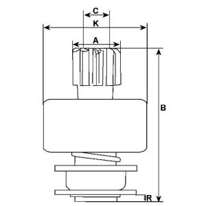
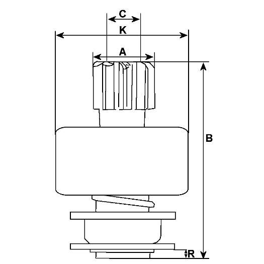
Côtes et dimensions du lanceur de démarreur

A - Diamètre extérieur du lanceur (mm)
32,20
B - Longueur totale lanceur (mm)
51,20
K - DE / logement (mm)
48,40
C - Diamètre intérieur (mm)
12,00
Lanceur grippé
Lanceur grippé

 

Comment tester un lanceur de démarreur BOSCH 0001115074 ?

C'est très simple : si le démarreur tourne, mais qu'il ne parvient pas à attaquer le volant moteur, alors il y a de très fortes chances que le lanceur soit la cause du problème.

Pour vérifier le bon fonctionnement de votre lanceur, il vous suffit de vérifier que le pignon bouge librement et que le lanceur n'est pas bloqué. Profitez-en pour vérifier l'état des ressorts et des dents du pignon. Si votre lanceur est grippé, rouillé ou usé, vous devrez le remplacer.