Mikatec

>

DÉMARREUR ET SES COMPOSANTS

>

Lanceur démarreur

>

Lanceur Bosch pour démarreur UNIPOINT SD2126

Lanceur Bosch pour démarreur UNIPOINT SD2126

Référence : CAO333196-949527

Article en stock sous 7 à 10 jours

2552TTC
Entreprise basée en Vendée - France

Entreprise
vendéenne

Moyens de paiement 100% sécurisés

Paiement
100% sécurisé

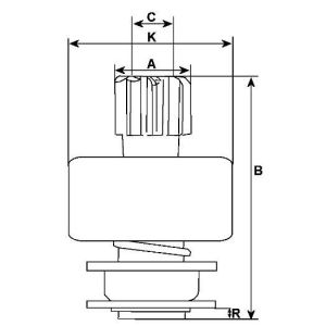
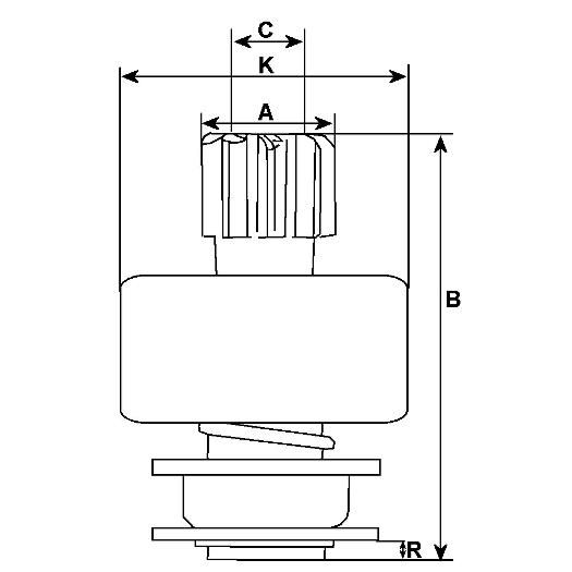
Infos techniques

C - DI mm
12,00
N° de dents
10
Cannelures internes
10
K - DE/logement mm
45,70
Rotation
avec -horaire
Marque
5*
A - DE mm
27.80
B - Longueur totale mm
58.70
Type lanceur
Acier
R - Dististance arbre
7.00
Source
Bosch
Lanceur grippé
Lanceur grippé

 

Comment tester un lanceur de démarreur UNIPOINT SD2126 ?

C'est très simple : si le démarreur tourne, mais qu'il ne parvient pas à attaquer le volant moteur, alors il y a de très fortes chances que le lanceur soit la cause du problème.

Pour vérifier le bon fonctionnement de votre lanceur, il vous suffit de vérifier que le pignon bouge librement et que le lanceur n'est pas bloqué. Profitez-en pour vérifier l'état des ressorts et des dents du pignon. Si votre lanceur est grippé, rouillé ou usé, vous devrez le remplacer.