Mikatec

>

DÉMARREUR ET SES COMPOSANTS

>

Lanceur démarreur

>

Lanceur compatible pour démarreur LUCAS 26270

Lanceur compatible pour démarreur LUCAS 26270

Référence : CAO232480-853496

Article en stock sous 7 à 10 jours

3378TTC
Entreprise basée en Vendée - France

Entreprise
vendéenne

Moyens de paiement 100% sécurisés

Paiement
100% sécurisé

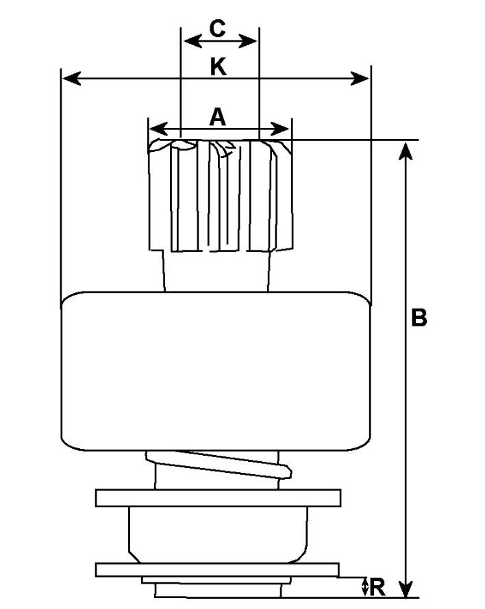
Infos techniques

C - DI mm
17,00
N° de dents
11
Cannelures internes
3
K - DE/logement mm
60,50
Rotation
Sens anti-horaire
Marque
HC-CARGO
A - DE mm
39.20
B - Longueur totale mm
73.70
R - Dististance arbre
5.80

Information Catalogues

Pour
M45G
Lanceur grippé
Lanceur grippé

 

Comment tester un lanceur de démarreur LUCAS 26270 ?

C'est très simple : si le démarreur tourne, mais qu'il ne parvient pas à attaquer le volant moteur, alors il y a de très fortes chances que le lanceur soit la cause du problème.

Pour vérifier le bon fonctionnement de votre lanceur, il vous suffit de vérifier que le pignon bouge librement et que le lanceur n'est pas bloqué. Profitez-en pour vérifier l'état des ressorts et des dents du pignon. Si votre lanceur est grippé, rouillé ou usé, vous devrez le remplacer.