Mikatec

>

DÉMARREUR ET SES COMPOSANTS

>

Lanceur démarreur

>

Lanceur compatible pour démarreur MITSUBISHI M0T45271

Lanceur compatible pour démarreur MITSUBISHI M0T45271

Référence : CAO237858-854374

Article en stock sous 7 à 10 jours

4586TTC
Entreprise basée en Vendée - France

Entreprise
vendéenne

Moyens de paiement 100% sécurisés

Paiement
100% sécurisé

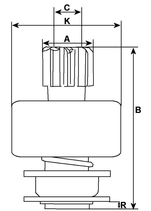
Infos techniques

C - DI mm
10,60
N° de dents
8
Cannelures internes
12
K - DE/logement mm
45,00
Rotation
Sens anti-horaire
Marque
HC-CARGO
Diam. Arbre/avant
44.90
A - DE mm
23.60
B - Longueur totale mm
71.00
Type lanceur
Acier
Lanceur grippé
Lanceur grippé

 

Comment tester un lanceur de démarreur MITSUBISHI M0T45271 ?

C'est très simple : si le démarreur tourne, mais qu'il ne parvient pas à attaquer le volant moteur, alors il y a de très fortes chances que le lanceur soit la cause du problème.

Pour vérifier le bon fonctionnement de votre lanceur, il vous suffit de vérifier que le pignon bouge librement et que le lanceur n'est pas bloqué. Profitez-en pour vérifier l'état des ressorts et des dents du pignon. Si votre lanceur est grippé, rouillé ou usé, vous devrez le remplacer.