Mikatec

>

DÉMARREUR ET SES COMPOSANTS

>

Lanceur démarreur

>

Lanceur compatible pour démarreur VALEO D6G3

Lanceur compatible pour démarreur VALEO D6G3

Référence : CAO236797-745844

Article en stock sous 7 à 10 jours

2096TTC
Entreprise basée en Vendée - France

Entreprise
vendéenne

Moyens de paiement 100% sécurisés

Paiement
100% sécurisé

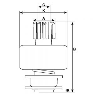
Infos techniques

C - DI mm
12,00
N° de dents
9
Cannelures internes
10
K - DE/logement mm
48,00
Rotation
avec -horaire
Marque
HC-CARGO Best Choice
A - DE mm
25.30
B - Longueur totale mm
45.50
Lanceur grippé
Lanceur grippé

 

Comment tester un lanceur de démarreur VALEO D6G3 ?

C'est très simple : si le démarreur tourne, mais qu'il ne parvient pas à attaquer le volant moteur, alors il y a de très fortes chances que le lanceur soit la cause du problème.

Pour vérifier le bon fonctionnement de votre lanceur, il vous suffit de vérifier que le pignon bouge librement et que le lanceur n'est pas bloqué. Profitez-en pour vérifier l'état des ressorts et des dents du pignon. Si votre lanceur est grippé, rouillé ou usé, vous devrez le remplacer.