Mikatec

>

DÉMARREUR ET SES COMPOSANTS

>

Lanceur démarreur

>

Lanceur pour démarreur VALEO D6RA15

Lanceur pour démarreur VALEO D6RA15

Référence : CAO139153-527850

En stock

2646TTC
Entreprise basée en Vendée - France

Entreprise
vendéenne

Moyens de paiement 100% sécurisés

Paiement
100% sécurisé

Infos techniques

Marque
VALEO
Nombre de dents
9
Cannelures
9
Rotation
Cr

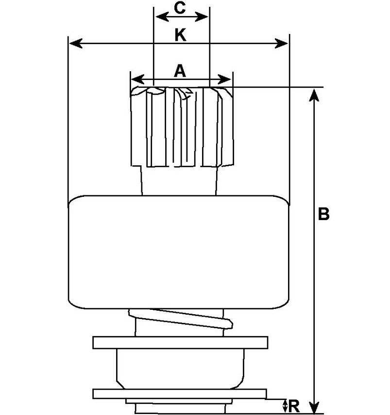
Côtes et dimensions du solénoïde de démarreur

A - Diamètre extérieur pignon (mm)
25,20
K - Diamètre extérieur lanceur (mm)
48,00
B - Longueur totale lanceur (mm)
56,65
Lanceur grippé
Lanceur grippé

 

Comment tester un lanceur de démarreur VALEO D6RA15 ?

C'est très simple : si le démarreur tourne, mais qu'il ne parvient pas à attaquer le volant moteur, alors il y a de très fortes chances que le lanceur soit la cause du problème.

Pour vérifier le bon fonctionnement de votre lanceur, il vous suffit de vérifier que le pignon bouge librement et que le lanceur n'est pas bloqué. Profitez-en pour vérifier l'état des ressorts et des dents du pignon. Si votre lanceur est grippé, rouillé ou usé, vous devrez le remplacer.