Mikatec

>

DÉMARREUR ET SES COMPOSANTS

>

Lanceur démarreur

>

Lanceur compatible pour démarreur VALEO D6RA81

Lanceur compatible pour démarreur VALEO D6RA81

Référence : CAO231073-1074424

Article en stock sous 7 à 10 jours

6728TTC
Entreprise basée en Vendée - France

Entreprise
vendéenne

Moyens de paiement 100% sécurisés

Paiement
100% sécurisé

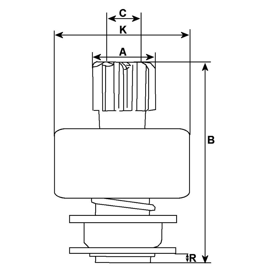
Infos techniques

C - DI mm
11,80
N° de dents
9
Cannelures internes
5
K - DE/logement mm
48,00
Rotation
avec -horaire
Marque
HC-CARGO
A - DE mm
29.00
B - Longueur totale mm
69.00
R - Dististance arbre
8.70
Lanceur grippé
Lanceur grippé

 

Comment tester un lanceur de démarreur VALEO D6RA81 ?

C'est très simple : si le démarreur tourne, mais qu'il ne parvient pas à attaquer le volant moteur, alors il y a de très fortes chances que le lanceur soit la cause du problème.

Pour vérifier le bon fonctionnement de votre lanceur, il vous suffit de vérifier que le pignon bouge librement et que le lanceur n'est pas bloqué. Profitez-en pour vérifier l'état des ressorts et des dents du pignon. Si votre lanceur est grippé, rouillé ou usé, vous devrez le remplacer.