Mikatec

>

DÉMARREUR ET SES COMPOSANTS

>

Lanceur démarreur

>

Lanceur Valeo pour démarreur VALEO TS12E901

Lanceur Valeo pour démarreur VALEO TS12E901

Référence : CAO234819-853920

Article en rupture de stock

6628TTC
Entreprise basée en Vendée - France

Entreprise
vendéenne

Moyens de paiement 100% sécurisés

Paiement
100% sécurisé

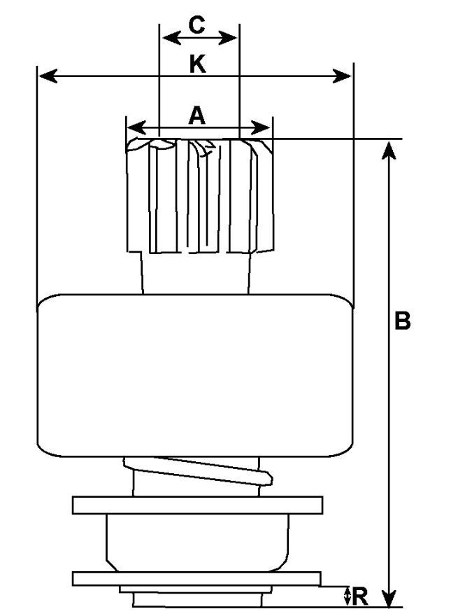
Infos techniques

C - DI mm
12,00
N° de dents
11
Cannelures internes
10
K - DE/logement mm
50,00
Rotation
avec -horaire
Marque
5*
A - DE mm
28.90
B - Longueur totale mm
45.00
Source
Valeo
Lanceur grippé
Lanceur grippé

 

Comment tester un lanceur de démarreur VALEO TS12E901 ?

C'est très simple : si le démarreur tourne, mais qu'il ne parvient pas à attaquer le volant moteur, alors il y a de très fortes chances que le lanceur soit la cause du problème.

Pour vérifier le bon fonctionnement de votre lanceur, il vous suffit de vérifier que le pignon bouge librement et que le lanceur n'est pas bloqué. Profitez-en pour vérifier l'état des ressorts et des dents du pignon. Si votre lanceur est grippé, rouillé ou usé, vous devrez le remplacer.