>
>
>
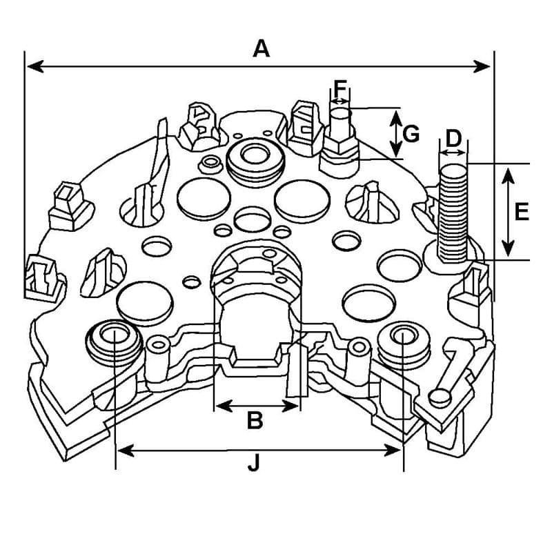
Pont de diode Bosch pour alternateur WOOD AUTO RTF39849
Article en rupture de stock

Entreprisevendéenne

Paiement100% sécurisé
Infos techniques
Information Physique
HC-CARGO est une marque du groupe Bosch spécialisée dans la distribution de pièces automobiles électriques dans le monde.