>
>
>
Pont de diode compatible pour alternateur KIA 3730002551
Article en rupture de stock

Entreprisevendéenne

Paiement100% sécurisé
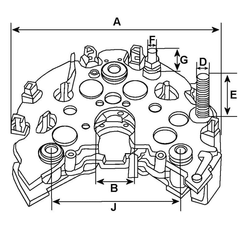
Infos techniques
Information Physique
Information Catalogues
HC-CARGO est une marque du groupe Bosch spécialisée dans la distribution de pièces automobiles électriques dans le monde.