>
>
>
Pont de diode compatible pour alternateur REMY (DELCO) 10480327
Article en fin de série

Entreprisevendéenne

Paiement100% sécurisé
Infos techniques
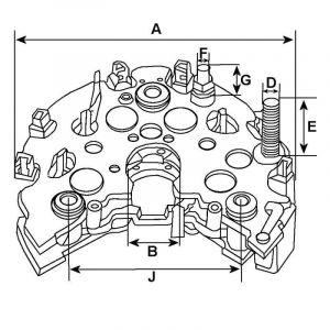
Côtes et dimensions du pont de diodes
Compléments d'information
HC-CARGO est une marque du groupe Bosch spécialisée dans la distribution de pièces automobiles électriques dans le monde.