Mikatec

>

DÉMARREUR ET SES COMPOSANTS

>

Lanceur démarreur

>

Lanceur compatible pour démarreur BOSCH 1006209943

Lanceur compatible pour démarreur BOSCH 1006209943

Référence : CAO335236-855148

Article en stock sous 7 à 10 jours

3378TTC
Entreprise basée en Vendée - France

Entreprise
vendéenne

Moyens de paiement 100% sécurisés

Paiement
100% sécurisé

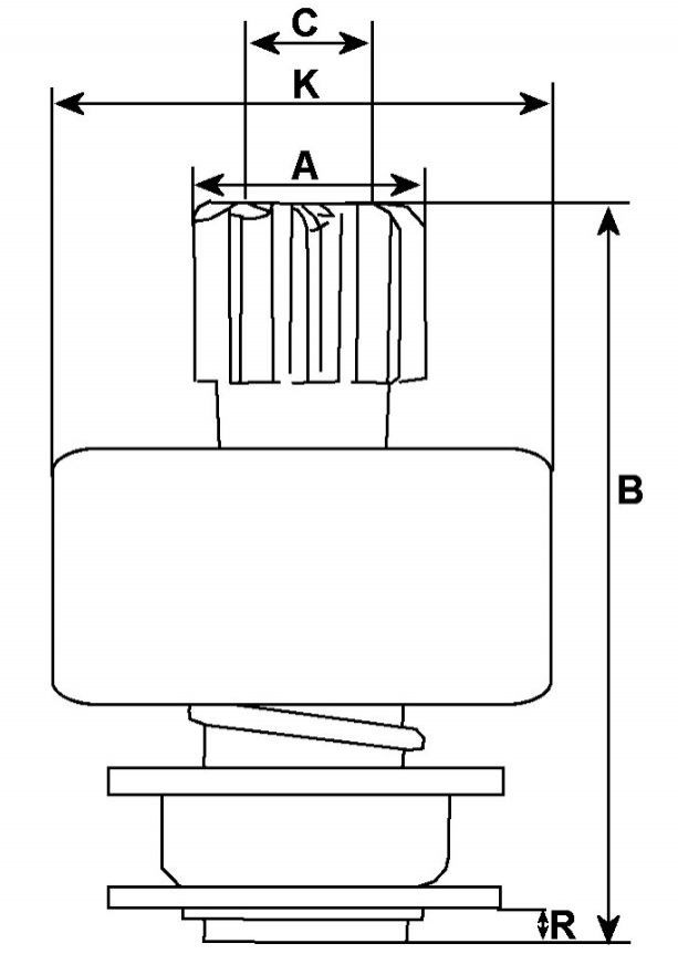
Infos techniques

C - DI mm
12,00
N° de dents
10
Cannelures internes
16
K - DE/logement mm
53,30
Rotation
Sens anti-horaire
Marque
HC-CARGO
A - DE mm
27.80
B - Longueur totale mm
103.50
Type lanceur
Acier
Lanceur grippé
Lanceur grippé

 

Comment tester un lanceur de démarreur BOSCH 1006209943 ?

C'est très simple : si le démarreur tourne, mais qu'il ne parvient pas à attaquer le volant moteur, alors il y a de très fortes chances que le lanceur soit la cause du problème.

Pour vérifier le bon fonctionnement de votre lanceur, il vous suffit de vérifier que le pignon bouge librement et que le lanceur n'est pas bloqué. Profitez-en pour vérifier l'état des ressorts et des dents du pignon. Si votre lanceur est grippé, rouillé ou usé, vous devrez le remplacer.