Mikatec

>

DÉMARREUR ET SES COMPOSANTS

>

Lanceur démarreur

>

Lanceur compatible pour démarreur BOSCH 6033AD3108

Lanceur compatible pour démarreur BOSCH 6033AD3108

Référence : CAO139056Z-925720

Article en stock sous 7 à 10 jours

1453TTC
Entreprise basée en Vendée - France

Entreprise
vendéenne

Moyens de paiement 100% sécurisés

Paiement
100% sécurisé

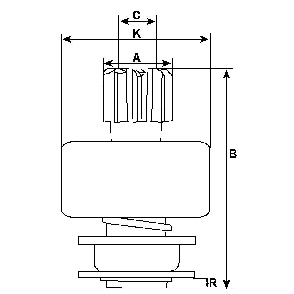
Infos techniques

C - DI mm
14,45
N° de dents
9
Cannelures internes
10
K - DE/logement mm
60,00
Rotation
avec -horaire
Marque
HC-CARGO Best Choice
A - DE mm
34.80
B - Longueur totale mm
82.50
Type lanceur
Acier
Lanceur grippé
Lanceur grippé

 

Comment tester un lanceur de démarreur BOSCH 6033AD3108 ?

C'est très simple : si le démarreur tourne, mais qu'il ne parvient pas à attaquer le volant moteur, alors il y a de très fortes chances que le lanceur soit la cause du problème.

Pour vérifier le bon fonctionnement de votre lanceur, il vous suffit de vérifier que le pignon bouge librement et que le lanceur n'est pas bloqué. Profitez-en pour vérifier l'état des ressorts et des dents du pignon. Si votre lanceur est grippé, rouillé ou usé, vous devrez le remplacer.