Mikatec

>

DÉMARREUR ET SES COMPOSANTS

>

Lanceur démarreur

>

Lanceur compatible pour démarreur BOSCH BLUE F042030165

Lanceur compatible pour démarreur BOSCH BLUE F042030165

Référence : CAO132012-949782

Article en stock sous 7 à 10 jours

1837TTC
Entreprise basée en Vendée - France

Entreprise
vendéenne

Moyens de paiement 100% sécurisés

Paiement
100% sécurisé

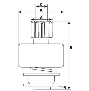
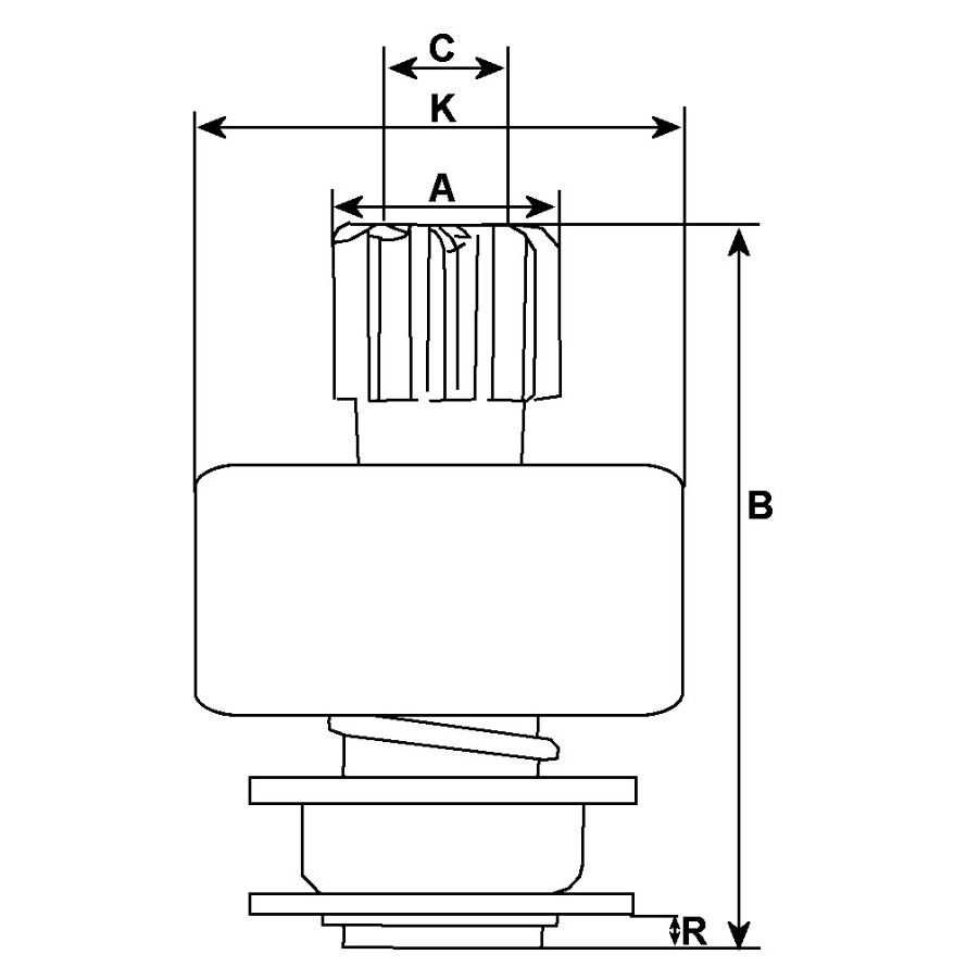
Infos techniques

C - DI mm
12,00
N° de dents
10
Cannelures internes
8
K - DE/logement mm
46,00
Rotation
avec -horaire
Marque
HC-CARGO
A - DE mm
31.50
B - Longueur totale mm
51.80
Lanceur grippé
Lanceur grippé

 

Comment tester un lanceur de démarreur BOSCH BLUE F042030165 ?

C'est très simple : si le démarreur tourne, mais qu'il ne parvient pas à attaquer le volant moteur, alors il y a de très fortes chances que le lanceur soit la cause du problème.

Pour vérifier le bon fonctionnement de votre lanceur, il vous suffit de vérifier que le pignon bouge librement et que le lanceur n'est pas bloqué. Profitez-en pour vérifier l'état des ressorts et des dents du pignon. Si votre lanceur est grippé, rouillé ou usé, vous devrez le remplacer.