Mikatec

>

DÉMARREUR ET SES COMPOSANTS

>

Lanceur démarreur

>

Lanceur compatible pour démarreur EUROLEC-HCUK 10314

Lanceur compatible pour démarreur EUROLEC-HCUK 10314

Référence : CAO133841-951702

Article en stock sous 7 à 10 jours

2801TTC
Entreprise basée en Vendée - France

Entreprise
vendéenne

Moyens de paiement 100% sécurisés

Paiement
100% sécurisé

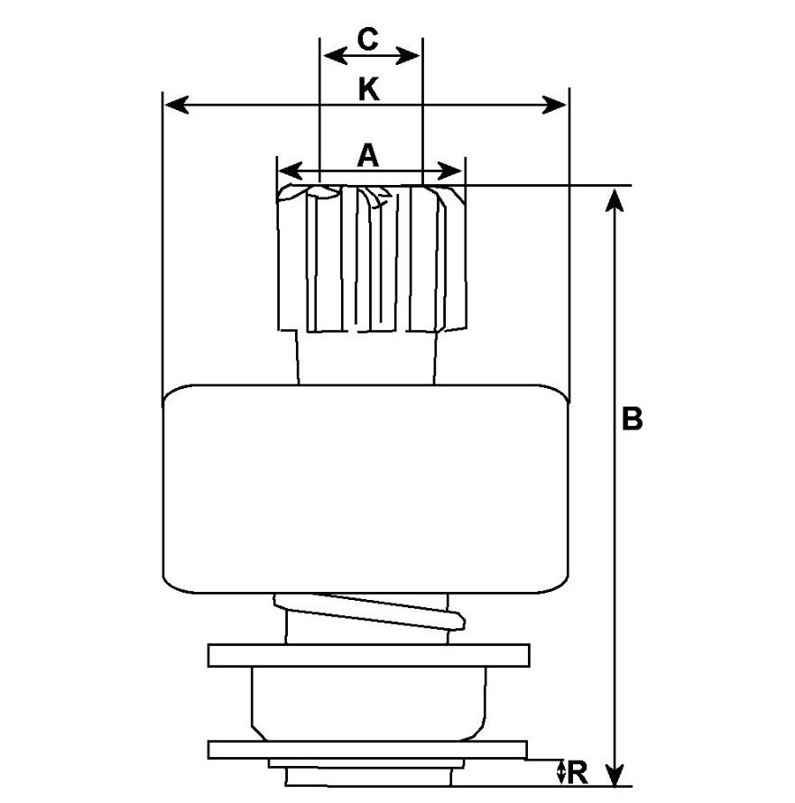
Infos techniques

C - DI mm
11,50
N° de dents
9
Cannelures internes
12
K - DE/logement mm
44,00
Rotation
Sens anti-horaire
Marque
HC-CARGO
A - DE mm
25.00
B - Longueur totale mm
65.30
R - Dististance arbre
5.20
Lanceur grippé
Lanceur grippé

 

Comment tester un lanceur de démarreur EUROLEC-HCUK 10314 ?

C'est très simple : si le démarreur tourne, mais qu'il ne parvient pas à attaquer le volant moteur, alors il y a de très fortes chances que le lanceur soit la cause du problème.

Pour vérifier le bon fonctionnement de votre lanceur, il vous suffit de vérifier que le pignon bouge librement et que le lanceur n'est pas bloqué. Profitez-en pour vérifier l'état des ressorts et des dents du pignon. Si votre lanceur est grippé, rouillé ou usé, vous devrez le remplacer.