Mikatec

>

DÉMARREUR ET SES COMPOSANTS

>

Lanceur démarreur

>

Lanceur compatible pour démarreur ZEN 0794

Lanceur compatible pour démarreur ZEN 0794

Référence : CAO135714-953567

Article en stock sous 7 à 10 jours

3356TTC
Entreprise basée en Vendée - France

Entreprise
vendéenne

Moyens de paiement 100% sécurisés

Paiement
100% sécurisé

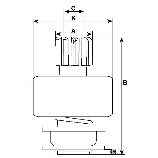
Infos techniques

C - DI mm
12,00
N° de dents
10
Cannelures internes
10
K - DE/logement mm
46,00
Rotation
Sens anti-horaire
Marque
HC-CARGO
A - DE mm
33.00
B - Longueur totale mm
58.60
R - Dististance arbre
7.20
Lanceur grippé
Lanceur grippé

 

Comment tester un lanceur de démarreur ZEN 0794 ?

C'est très simple : si le démarreur tourne, mais qu'il ne parvient pas à attaquer le volant moteur, alors il y a de très fortes chances que le lanceur soit la cause du problème.

Pour vérifier le bon fonctionnement de votre lanceur, il vous suffit de vérifier que le pignon bouge librement et que le lanceur n'est pas bloqué. Profitez-en pour vérifier l'état des ressorts et des dents du pignon. Si votre lanceur est grippé, rouillé ou usé, vous devrez le remplacer.