>
>
>
Pont de diode compatible pour alternateur AUTOSTARTER POLAND ARC0136
Article en rupture de stock

Entreprisevendéenne

Paiement100% sécurisé
Infos techniques
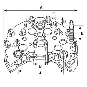
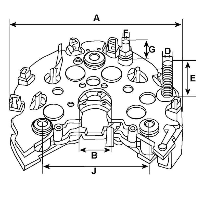
Côtes et dimensions du pont de diodes
HC-CARGO est une marque du groupe Bosch spécialisée dans la distribution de pièces automobiles électriques dans le monde.