>
>
>
Pont de diode compatible pour alternateur AUTOSTARTER POLAND ARC9034
Article en fin de série

Entreprisevendéenne

Paiement100% sécurisé
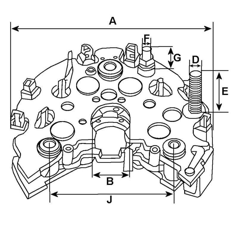
Infos techniques
Côtes et dimensions du pont de diodes
Compléments d'information
HC-CARGO est une marque du groupe Bosch spécialisée dans la distribution de pièces automobiles électriques dans le monde.