>
>
>
Pont de diode compatible pour alternateur BOSCH BLUE F042310282
Article en fin de série

Entreprisevendéenne

Paiement100% sécurisé
Infos techniques
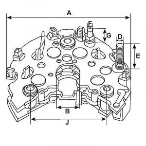
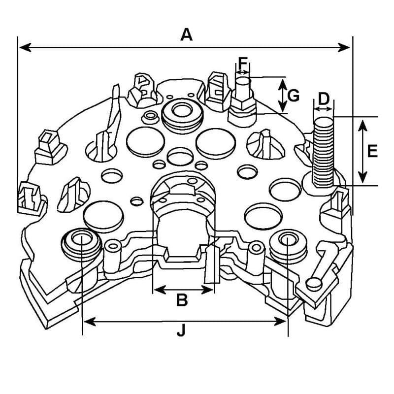
Côtes et dimensions du pont de diodes
HC-CARGO est une marque du groupe Bosch spécialisée dans la distribution de pièces automobiles électriques dans le monde.