Mikatec

>

ALTERNATEUR ET SES COMPOSANTS

>

Roulement alternateur

>

Roulement d'alternateur FAG pour alternateur VALEO A13N12

Roulement d'alternateur FAG pour alternateur VALEO A13N12

Référence : CAO140087-1078299

En stock

883TTC
Entreprise basée en Vendée - France

Entreprise
vendéenne

Moyens de paiement 100% sécurisés

Paiement
100% sécurisé

Infos techniques

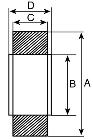
Type
6203
Flasque latérale
Tôlé
Diamètre extérieur (mm)
40,00
Diamètre intérieur (mm)
17,00
C - Largeur (mm)
12,00
A - DE mm
40,00
B - DI mm
17,00
C - Hauteur 1
12,00
Marque
FAG

Information Catalogues

Remarques
6203-2RS1.
Vue de coupe du roulement à billes pour alternateur
Vue de coupe du roulement à billes pour alternateur

Des roulements à billes pour votre alternateur !

Nos roulements à billes sont capables de supporter des conditions extrêmes sans dommage : les scellés en nitrite peuvent par exemple résister à une température de 90°C, tandis que les bagues et les billes peuvent supporter une température de 110°C.

Mikatec vous propose essentiellement des scellés de type 2RS, qui confèrent aux roulements une bonne protection contre la poussière et tous types de liquides.

Il faut savoir que la durée de vie d'un roulement à billes dépend principalement de la propreté du lubrifiant.

 

Comment monter un roulement à billes sur mon alternateur VALEO A13N12 ?

Roulement a billes bavures
Roulement a billes bavures
Roulement à billes
Roulement à billes
Roulement à billes nettoyage
Roulement à billes nettoyage

Recommandation :

Vous devez nettoyer toutes les pièces mécaniques qui seront au contact du roulement. Pour ce faire, nous vous conseillons d'utiliser un papier faiblement abrasif pour éliminer toutes les traces de bavure, de rouille et de saleté.

 

Attention ! Lorsque vous installez vos roulements à billes sur leurs arbres ou dans leurs alésages, veillez à ne jamais les frapper directement avec un marteau ou toute autre pièce métallique !

Montage d'un roulement à billes sur l'arbre
Montage d'un roulement à billes sur l'arbre
Montage d'un roulement à billes sur l'arbre
Montage d'un roulement dans un logement
Montage d'un roulement dans un logement
Montage d'un roulement dans un logement
Montage simultané d'un roulement à billes
Montage simultané d'un roulement à billes
Montage simultané d'un roulement à billes

 

 

Les composants d'un roulement à billes

Composants d'un roulement à billes
Composants d'un roulement à billes

Avis clients

5 / 5
 

sur 4 avis

Chez Mikatec les avis sont fiables et font suite à un achat. En savoir plus.

F

FRÉDÉRIC F.

 
avis laissé ledu 17/03/2025
Parfait

G

GERARD P.

 
avis laissé ledu 11/02/2025
Bon

R

RUDY D.

 
avis laissé ledu 14/01/2024
parfait

M

MIGUEL D.

 
avis laissé ledu 21/02/2023
Super ce monte en lieu et place

Avis soumis à un contrôle

Pour vous garantir leur fiabilité, nos avis sont exclusivement sollicités auprès de clients ayant achetés des produits sur notre boutique. Aucune contrepartie n'a été fournie en échange des avis. Les avis sont publiés et conservés sans limitation de temps. Si un client souhaite modifier son avis, il peut prendre contact avec la Société des Avis Garantis, notre tiers de confiance. Pour plus d'informations, notamment sur les caractéristiques du contrôle des avis et les motifs de suppression des avis, merci de consulter le site de laSociété des Avis Garantis.